電站旋啟式止回閥產品概述
電站旋啟式止回閥是一種安裝在火電機組主給水管道上,作為防止介質逆流的裝置,其依靠介質的流動推力使閥瓣沿閥體內部的銷軸進行旋轉,達到開啟或關閉的目的。該閥閥瓣一般為圓形,并位于銷軸的下方,當管道內流體按照指定的方向流入時,閥瓣的進口壓力高于出口壓力,此時閥瓣會被介質推起,離開閥座并繞銷軸轉動某一位置,閥門處于全開狀態;當閥瓣兩側的壓差減小到一定時,閥瓣自由下落,從而回到關閉狀態;當管道內介質反向流動時,閥瓣兩側壓差產生的作用力將閥瓣壓緊在閥座上,導致流體介質無法通過,介質壓力越大,密封面壓得越緊,密封性能越好。本產品具有啟閉速度快,承受壓力高,介質流通順利,流體阻力小等特點,因此被廣泛應用于火力發電廠高溫高壓介質及流速和壓力較平穩的大口徑管道系統中。
電站旋啟式止回閥零件材料
| 序號 | 零件名稱 | 材料名稱 | |||||
| 1 | 閥 體 | A216 WCB | A217 WC1 | A217 WC6 | A217 WC9 | A217 C12A | A351 CF8C |
| 2 | 閥 蓋 | A216 WCB | A217 WC1 | A217 WC6 | A217 WC9 | A217 C12A | A351 CF8C |
| 3 | 銷 軸 | A105 | A182 F11 | A182 F11 | A182 F22 | A182 F91 | A182 F347 |
| 4 | 搖 桿 | A216 WCB | A217 WC1 | A217 WC6 | A217 WC9 | A217 C12A | A351 CF8C |
| 5 | 閥 瓣 | A105 | A182 F11 | A182 F11 | A182 F22 | A182 F91 | A182 F347 |
| 6 | 閥 座 | A105 | A182 F11 | A182 F11 | A182 F22 | A182 F91 | A182 F347 |
| 7 | 密 封 圈 | GRAPHITE | GRAPHITE | GRAPHITE | GRAPHITE | GRAPHITE | GRAPHITE |
| 8 | 螺 栓 | A193 B7 | A193 B16 | A193 B16 | A193 B16 | A193 B16 | A193 B8 |
| 9 | 螺 母 | A194 2H | A194 16 | A194 16 | A194 16 | A194 16 | A194 8 |
電站旋啟式止回閥性能規范
| 公稱壓力PN(MPa) | 10.0 | 16.0 | 20.0 | 25.0 | 32.0 | 40.0 |
| 殼體強度試驗壓力(MPa) | 15.0 | 24.0 | 30.0 | 37.5 | 48.0 | 60.0 |
| 水壓密封試驗壓力(MPa) | 11.0 | 17.6 | 22.0 | 27.5 | 35.2 | 44.0 |
| 氣密封試驗壓力(MPa) | 0.5~0.7 | 0.5~0.7 | 0.5~0.7 | 0.5~0.7 | 0.5~0.7 | 0.5~0.7 |
| 設計制造 | NB/T 47044、ASME B16.34、JIS E-101 | |||||
| 結構長度 | GB/T 12221、ASME B16.10、JIS E-101 | |||||
| 法蘭尺寸 | JB/T 79、GB/T 9124.1、HG/T 20592、SH/T 3406、ASME B16.5等 | |||||
| 檢驗試驗 | NB/T 47044、API 598、JIS E-101 | |||||
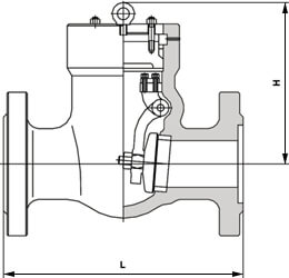
電站旋啟式止回閥主要尺寸
| 公稱壓力 PN | 公稱通徑 DN | 外形尺寸/mm | 公稱壓力 PN | 公稱通徑 DN | 外形尺寸/mm | ||
| L | H | L | H | ||||
| 100 | 50 | 300 | 210 | 160 | 50 | 300 | 220 |
| 65 | 340 | 230 | 65 | 340 | 260 | ||
| 80 | 380 | 255 | 80 | 380 | 270 | ||
| 100 | 430 | 295 | 100 | 430 | 330 | ||
| 125 | 500 | 330 | 125 | 500 | 390 | ||
| 150 | 550 | 365 | 150 | 550 | 430 | ||
| 200 | 650 | 420 | 200 | 650 | 510 | ||
| 250 | 775 | 505 | 250 | 750 | 514 | ||
| 表中未列出的其他規格參數,請咨詢汗越閥門技術部! | |||||||
電站旋啟式止回閥結構圖

如果你需訂購我廠電站閥系列產品,咨詢時煩請說明公稱通徑、公稱壓力、材質、使用介質、工作溫度、法蘭執行標準及密封面形式等,我廠可按客戶需求承接定制,本產品有國標和美標兩種。

