2507籃式過濾器產品概述
2507籃式過濾器是一種筒體、盲板和濾籃等主要部件采用2507或S32750及S25073材質制作,適用于氯化物工況或酸性環境條件下阻擋不同粒徑固體雜質的雙相鋼籃式過濾器。其本體材料兼有兩種組織結構(鐵素體α相+奧氏體γ相),在固溶組織中兩相的相比例約為1:1,且通常情況下量少相的含量也不低于30%,其點蝕當量(PREN)高于40具有較好的抗腐蝕能力,此外它擁有較高的強度,力學性能優,相比于奧氏體不銹鋼,其熱導率高而熱膨脹系數低,由于較高的鉻、鉬含量,使其耐孔蝕、耐均勻蝕、耐縫隙以及耐氯化物應力腐蝕開裂性能優異,并能抵抗一些有機酸和相應濃度范圍內的無機酸的腐蝕,正是這些優良的特性使本產品在石油、石化、化工、天然氣及海洋油氣開發等工業中使用較為廣泛。
2507籃式過濾器部件材料
| 序號 | 部件名稱 | 材料名稱 | ||||
| 1 | 筒 體 | 2507 | SAF 2507 | S32750 | S25073 | 022Cr25Ni7Mo4N |
| 2 | 接 管 | 2507 | SAF 2507 | S32750 | S25073 | 022Cr25Ni7Mo4N |
| 3 | 斜 度 板 | 2507 | SAF 2507 | S32750 | S25073 | 022Cr25Ni7Mo4N |
| 4 | 濾 籃 | 2507 | SAF 2507 | S32750 | S25073 | 022Cr25Ni7Mo4N |
| 5 | 墊 片 | PTFE | PTFE | PTFE | PTFE | PTFE |
| 6 | 法 蘭 | 2507 | SAF 2507 | S32750 | S25073 | 022Cr25Ni7Mo4N |
| 7 | 盲 板 | 2507 | SAF 2507 | S32750 | S25073 | 022Cr25Ni7Mo4N |
| 8 | 底 板 | 2507 | SAF 2507 | S32750 | S25073 | 022Cr25Ni7Mo4N |
2507籃式過濾器性能規范
| 公稱壓力PN(MPa) | 1.6 | 2.5 | 4.0 | 2.0 | 5.0 |
| 殼體強度試驗壓力(MPa) | 2.4 | 3.75 | 6.0 | 3.0 | 7.5 |
| 氣密性試驗壓力(MPa) | 1.6 | 2.5 | 4.0 | 2.0 | 5.0 |
| 設計制造 | SH/T 3411-2017、HG/T 21637-2021、JB/T 7538-2016 | ||||
| 法蘭標準 | JB/T 81~82、GB/T 9115~9119、HG/T 20592~20615、SH/T 3406、ASME B16.5等 | ||||
| 檢驗驗收 | SH/T 3411-2017、HG/T 21637-2021、JB/T 7538-2016 | ||||
| 過濾精度 | 20μm ~ 16000μm | ||||
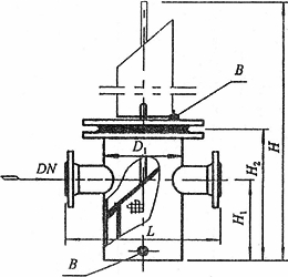
2507籃式過濾器主要尺寸
| 公稱壓力 PN | 公稱直徑 DN | 結構尺寸/mm | 排放口 B | ||||
| D1 | L | H1 | H2 | H | |||
| 10 | 25 | 89 | 220 | 160 | 260 | 480 | R? |
| 32 | 89 | 220 | 165 | 270 | 495 | R? | |
| 40 | 114 | 280 | 180 | 300 | 550 | R? | |
| 50 | 114 | 280 | 180 | 300 | 550 | R? | |
| 65 | 140 | 330 | 220 | 350 | 650 | R? | |
| 80 | 168 | 340 | 260 | 400 | 740 | R? | |
| 100 | 219 | 420 | 310 | 470 | 880 | R? | |
| 150 | 273 | 500 | 430 | 620 | 1175 | R? | |
| 200 | 325 | 560 | 530 | 780 | 1495 | R? | |
| 250 | 426 | 660 | 640 | 930 | 1810 | R? | |
| 300 | 478 | 750 | 840 | 1200 | 2310 | R? | |
| 表中未列出的其他規格參數,請咨詢汗越閥門技術部! | |||||||
2507籃式過濾器結構圖


