抽汽逆止閥產品概述
抽汽逆止閥主要用于電站或熱電廠抽汽系統,防止汽輪機組在突然甩負荷時,汽輪機內的壓力突然下降,抽汽管道和各加熱器內蒸汽倒流入汽輪機內,造成汽輪葉片打碎,毀壞汽輪發電機的事故,同時防止加熱器系統管道泄漏時,給水從抽汽管路進入汽輪機內而發生水擊事故,以保障汽輪機平安無事,其作為防止介質逆流的裝置,該閥能在0.5秒內快速緊密的關閉,確保在給水加熱器出現水位超高時,氣動裝置部件接到液體逆流信號后,將汽輪機迅速隔開,給汽輪機或抽汽系統以保護。
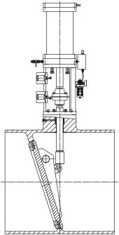
抽汽逆止閥采用止回閥和輔助快關執行機構為彈簧復位單作用直行程氣動裝置相結合的結構型式,當汽輪機開始工作時,壓縮空氣經過球閥進入二聯件處理,再通過二位三通電磁閥和快排閥進入氣缸的下腔,推動氣缸活塞向上移動,壓縮彈簧并使其蓄能,閥瓣在管路介質的推動下開啟,當系統故障時,電磁閥瞬間斷電而關閉,切斷氣源,快排閥快速打開排出氣缸下腔空氣,在彈簧力的作用下活塞迅速下移,并通過閥桿推動閥瓣旋轉,幫助閥瓣以較快的速度關閉,關閉時間不大于0.5秒。
抽汽逆止閥零件材料
| 序號 | 零件名稱 | 材料名稱 | ||||
| 1 | 閥 體 | WCB | WC1 | WC6 | WC9 | C12A |
| 2 | 閥 座 | 304 | 304 | 304 | 304 | 316 |
| 3 | 閥 瓣 | WCB | WC1 | WC6 | WC9 | C12A |
| 4 | 閥 軸 | 2Cr13 | 304 | 304 | 304 | 316 |
| 5 | 閥 桿 | 2Cr13 | 304 | 304 | 304 | 316 |
| 6 | 填料壓蓋 | WCB | WC1 | WC6 | WC9 | C12A |
| 7 | 填 料 | GRAPHITE | GRAPHITE | GRAPHITE | GRAPHITE | GRAPHITE |
| 8 | 氣 缸 | 20 | 20 | 20 | 20 | 20 |
| 9 | 彈 簧 | 60Si2Mn | 60Si2Mn | 60Si2Mn | 60Si2Mn | 60Si2Mn |
抽汽逆止閥技術規范
| 公稱壓力PN(MPa) | 1.0 | 1.6 | 2.5 | 4.0 | 6.3 |
| 殼體強度試驗壓力(MPa) | 1.5 | 2.4 | 3.75 | 6.0 | 9.45 |
| 液體高壓密封試驗壓力(MPa) | 1.1 | 1.76 | 2.75 | 4.4 | 6.93 |
| 氣體低壓密封試驗壓力(MPa) | 0.5~0.7 | 0.5~0.7 | 0.5~0.7 | 0.5~0.7 | 0.5~0.7 |
| 設計制造 | JB/T 12002、DL/T 1822、NB/T 47044、ASME B16.34 | ||||
| 結構長度 | GB/T 12221、DL/T 1822、ASME B16.10 | ||||
| 焊接連接 | GB/T 12224、DL/T 1822、NB/T 47044、ASME B16.25或按訂貨合同要求 | ||||
| 檢驗試驗 | GB/T 13927、NB/T 47044、API 598 | ||||
抽汽逆止閥典型結構圖

本產品執行機構也可選用液動,采用凝結水液壓驅動,關閉時間小于1s。如果你需訂購我廠電站閥系列產品,咨詢時煩請說明閥門型號、閥體材質、公稱尺寸、公稱壓力、使用介質、工作溫度、工作壓力、連接端形式(焊接或法蘭等)。

